关于公布2026年度月池矿泉水瓶胚(3025口)采购 (三标包)采购项目价格基准日当日平均价的说明
浏览量:77各位投标人:
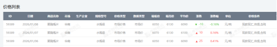
现公布2026年1月8日“卓创资讯平台https://www.sci99.com/”价格中心所公布的聚酯瓶片“华南区域”的市场当日平均价为6090元/吨,即0.006090元/克
附图如下
江西同济建设项目管理股份有限公司
2026年1月9日

代理机构: 江西同济建设项目管理股份有限公司
采购单位: 江西武功山月池天然矿泉水有限公司
发布日期: 2026-01-09
各位投标人:
现公布2026年1月8日“卓创资讯平台https://www.sci99.com/”价格中心所公布的聚酯瓶片“华南区域”的市场当日平均价为6090元/吨,即0.006090元/克
附图如下
江西同济建设项目管理股份有限公司
2026年1月9日
企业最近项目
已截止
已截止
已截止
已截止